+7 (812) 964-44-25
с 9:00 до18:00 ежедневно
0
0
0 В корзине пока пусто

Траверса ТМ-72б (Л57-97.04.02)


Траверса ТМ-72б (Л57-97.04.02)
Артикул: Л57-97.04.02б
Описание товара:
Траверса ТМ-72б (Л57-97.04.02)
Характеристики:
Артикул
Л57-97.04.02б
Вес (кг)
13
Описание товара
Траверса ТМ-72б (Л57-97.04.02)

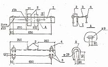
Траверсы ТМ-72б (проект Л57-97.04.02) применяются для выполнения крепления проводов с использованием изолирующих натяжных подвесок во время проведения и установки анкерных опор ЛЭП 10 кВ. В зависимости от типа стойки выбирают тип крепежного хомута, с помощью которого траверса крепится на стойку. Заказывать хомуты нужно отдельно.

Траверсы ТМ-72б выполнены из качественной углеродистой стали и имеют лаковое антикоррозийное покрытие (лак битумный БТ-577). Четыре петли, приваренные к траверсе ТМ-72б, оснащены серьгами серии СРС7-16.

    Спецификация траверсы ТМ-72б
  • Уголок 100х100х8 ГОСТ 8509-86 L=750 1шт.
  • Уголок 63х63х5 ГОСТ 8509-86 L=200 1шт.
  • Круг 816 ГОСТ 2590-88 L=260 4шт.
  • Серьга СРС-7-16 4шт.
  • 13,00 кг.

Характеристики:
Прочие
Производитель
Артикул Л57-97.04.02б
Вес (кг) 13
Похожие товары (8)
Траверса ТМ-72б (Л57-97.04.02)
Товар добавлен в корзину
Итого:
Купить в один клик
Заполните данные для заказа
Запросить стоимость товара
Заполните данные для запроса цены
Запросить цену Запросить цену